Futuri Mac e dispositivi iOS potrebbero essere in grado di individuare la mano sospesa su un touchpad o trackpad ed essere in grado di agire di conseguenza. Lo rivela un brevetto (numero 20150169114) registrato presso il Patent & Trademark Office statunitense.
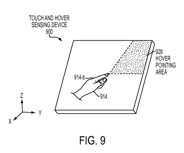
Apple spiega nel deposito della domanda che i dispositivi con pannelli tattili consentono di eseguire varie funzioni toccando un pannello con sensore touch sfruttando un dito, un pennino o altri oggetti; sfruttando un particolare meccanismo alcuni dispositivi sensibili al touch possono essere sfruttati in grado di riconoscere il librare a mezz’aria delle dita, comprendendo in pratica quando l’utente si avvicina ma non tocca il sensore touch del pannello, individuando anche la specifica posizione delle dita. Il sensore touch è in grado di tenere conto di questo fattore e agire di conseguenza, alla stregua di quanto avviene con un evento touch.










