Molti utenti devono ancora scoprire e usare la tecnologia 3D Touch degli iPhone 6s ma Apple sembra abbia intenzione di estenderla sul maggior numero dei suoi dispositivi e computer. È questo quanto conferma il brevetto per il tasto Home 3D Touch emerso oggi, in cui vengono descritte diverse soluzioni tecniche per implementare il rilevamento della pressione nell’unico, storico pulsante di iPhone e iPad, che così arriverrebbe a integrare tre funzioni: tasto Home, 3D Touch e Touch ID per il riconoscimento dell’impronta.

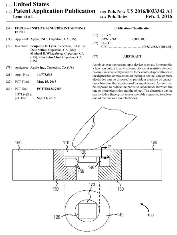
Il documento intitolato Force-sensitive fingerprint sensing input, rilevato da AppleInsider, descrive di fatto un tasto Home 3D Touch costruito implementando sensori capacitivi. Grazie a questi componenti è possibile misurare la distanza tra due elementi in base alla forza esercitata dal dito dell’utente, premendo per esempio su una molla, un materiale plastico elastico o altro ancora.
In base alla forza applicata il software di gestione può abbinare funzioni diverse. Per esempio con un tocco leggero può essere attivato il riconoscimento dell’impronta e lo sblocco del telefono, mentre con un tap più forte bloccare il terminale e avviare l’esecuzione immediata di una app specifica. Altre soluzioni potrebbero poi prevedere accesso rapido alle impostazioni o risposte rapide già pronte per notifiche e messaggi con pressioni più o meno accentuate.
Ormai da anni sentiamo parlare della possibile rimozione completa del tasto Home soprattutto in iPhone, soluzione che permetterebbe ad Apple di ingrandire lo schermo riducendo sensibilmente gli ingombri di cornice e bordi. Il nuovo brevetto, che risale in realtà al 2013, punta in una direzione completamente diversa. Non è possibile prevedere ora se Apple impiegherà o meno questa soluzione.

![iGuide per i regali di Natale - macitynet..ti CTA Natale iGuida [per Settimio] - macitynet.it](https://www.macitynet.it/wp-content/webp-express/webp-images/uploads/2025/12/regali-di-natale-consigli-di-macitynet.jpg.webp)











