Il freddo può essere dannoso per gli schermi OLED, che risultano piuttosto fragili, e questo sarà un problema soprattutto per i display pieghevoli. Apple sta già pensando a come risolvere il problema del futuro iPhone pieghevole con un sistema di riscaldamento brevettato.
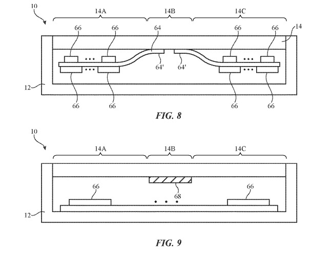
In una domanda di brevetto da parte di Apple, pubblicato dall’US Patent and Trademark Office in queste ore, intitolato “dispositivi elettronici con display flessibili”, il produttore di iPhone suggerisce che la temperatura esterna potrebbe essere un problema per i display. Per questo, Apple mostra una sezione trasversale di un dispositivo con uno schermo flessibile, con elementi riscaldanti incorporati.
Per mitigare il freddo, Apple suggerisce un metodo semplice per riscaldare l’area del display lungo la curva del pannello. Come parte della soluzione scelta da Apple ci sarebbe anche un sensore di temperatura a bordo per determinare quanto è caldo il dispositivo, e se potrebbe esserci un pericolo per lo schermo flessibile. Il processo di riscaldamento stesso potrebbe essere innestato da un elemento riscaldante situato vicino alla sezione dello schermo che più si piega, con conduttori di calore che trasferiscono caldo dove è richiesto.
Un elemento riscaldante potrebbe non essere pratico da aggiungere su uno smartphone, ed allora Apple avrebbe già suggerito un’alternativa, utilizzando il calore generato dall’illuminazione dello schermo. Per fare questo si potrebbe sfruttare uno screensaver concentrato sulla sezione piegata, ad esempio rendendo questa parte più luminosa e illuminata rispetto al resto dello schermo.
Peraltro, Apple potrebbe creare un meccanismo per avvisare l’utente del rischio di aprire e chiudere lo schermo pieghevole, o addirittura bloccare la flessione del display se la temperatura non lo consente in sicurezza. In altri termini, con il troppo freddo Apple potrebbe bloccare l’apertura del terminale. La domanda di brevetto, però, non sembra spiegare esattamente come avverrebbe questo blocco.
Si tratta dell’ennesimo brevetto che l’azienda ha depositato in riferimento ad un iPhone pieghevole, che secondo i rumor passati potrebbe arrivare nel 2020.














