Apple ha una soluzione originale ed efficace per potenziare la connettività wireless dei suoi dispositivi, in particolare in Apple Watch integrando una antenna nello schermo. Attualmente e fin dal primo smartwatch di Cupertino, dalla sua prima versione fino a quella attuale, l’antenna è una piccola componente a cui è riservato uno spazio limitato nello chassis dell’indossabile, sia nel bordo superiore che in quello inferiore intorno al sensore per il battito cardiaco.
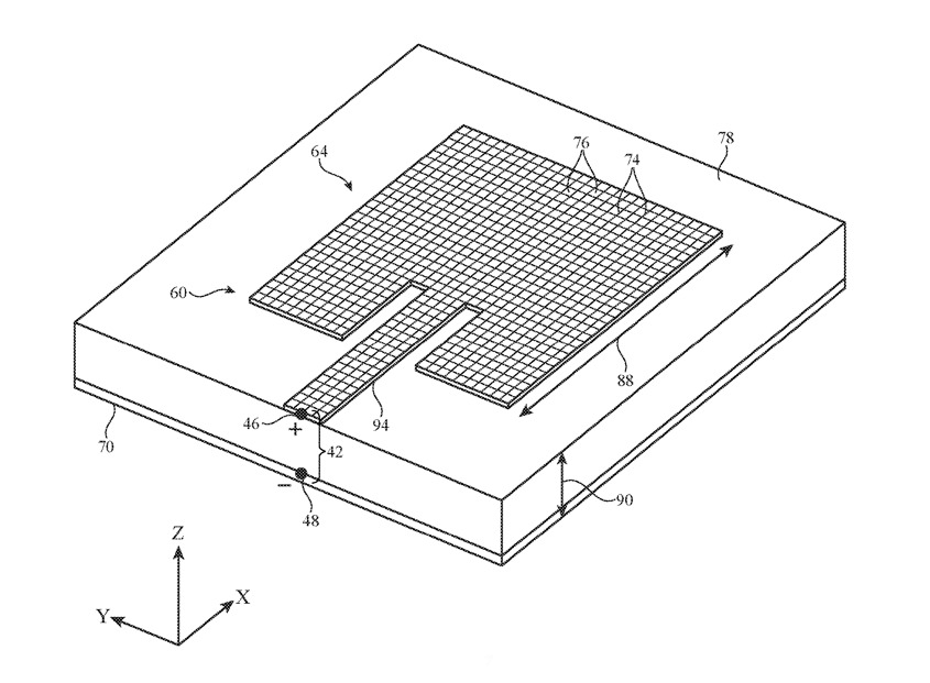
In un brevetto del colosso di Cupertino viene descritta una soluzione alternativa in cui una griglia di tracce conduttive risulta ospitata direttamente nello strato dielettrico del display. Negli schemi allegati al brevetto vengono mostrate diverse implementazioni che occupano più o meno spazio, in ogni caso in questo modo risulta possibile costruire antenne con una maggiore superficie di quanto possibile finora, con miglioramenti nella ricezione.

Trattandosi di un brevetto non è dato sapere se e quando Apple la implementerà, in ogni caso sono già circolate anticipazioni sul possibile miglioramento della connettività wireless in Apple Watch 6, la versione attesa in arrivo questo autunno.

Tutti gli articoli e le notizie di macitynet che parlano di Apple Watch sono disponibili a partire da questa pagina. Tutto quello che c’è da sapere sull’attuale modello Apple Watch 5 è in questo approfondimento, invece per tutte le anticipazioni su quanto atteso nel prossimo Apple Watch 6 è riassunto qui.
![iGuide per i regali di Natale - macitynet..ti CTA Natale iGuida [per Settimio] - macitynet.it](https://www.macitynet.it/wp-content/uploads/2025/12/regali-di-natale-consigli-di-macitynet.jpg)











