Da due brevetti di Apple registrati presso il Patent Office statunitense sembrano raffigurare gli AirTag, i tracker di cui si vocifera ormai da mesi e che dovrebbero permettere di individuare e localizzare facilmente accessori vari (a questo indirizzo tutto quello che sappiamo finora).
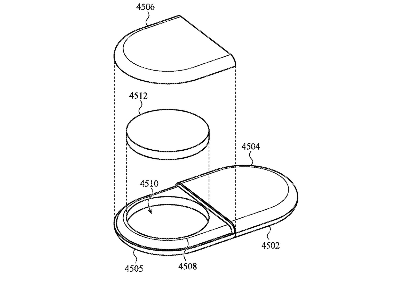
Nei brevetti scovati dal sito PatentlyApple sono mostrate varie immagini; il primo brevetto è intitolato “Mounting Base for a Wirelessly Locatable Tag” (base di montaggio per un segnaposto localizzabile); il secondo brevetto è intitolato “Fastener with a Constrained Retention Ring” (dispositivo di chiusura con anello di ritenzione vincolato). Nei brevetti di descrive un accessorio segnaposto localizzabile che è possibile sfruttare per determinare la posizione assoluta di un oggetto con modalità più accurate rispetto a quanto possibile con il solo GPS.
Dai brevetti – scrive Macrumors – è possibile determinare varie caratteristiche che avranno questi accessori. Si evidenzia la possibilità di localizzare oggetti, la piccola forma che li rende facili da fissare a oggetti vari, e una “robusta progettazione strutturale” che assicura “affidabilità in varie condizioni e ambienti”.
Si evince che gli Airtag saranno impermeabili o, quanto meno, resistenti agli schizzi, e in grado di supportare impatti, cadute e altri “traumi” nell’uso quotidiano. Dovrebbero essere inoltre in gradiodi generare feedback aptico e segnali acustici.
Nelle immagini allegati ai brevetti è raffigurato il potenziale design del tag che pare rispecchiare i concept circolati finora, con un dischetto metallico sulla parte posteriore e il guscio di plastica sulla parte superiore e laterale. La vociferata custodia in pelle è altresì indicata nei brevetti depositati da Apple.
Le funzionalità di rilevamento della posizione e capacità di individuare la direzionalità dei tag sono indicate come estremamene accurate, al punto che “uno smartphone può essere in grado di individuare la posizione del tag con una precisione nel raggio di un metro”, ma si parla anche di 30cm o meno.
Nei brevetti si fa riferimento all’ambiente di rete in generale con tag, smartphone, computer e altri dispositivi collegati – presumibilmente – con una connessione ultra-wideband.
Oltre a consentire di localizzare oggetti di vario tipo, gli AirTag possono essere sfruttati per attivare azioni o altri dispositivi quando questi si trovano in una certa vicinanza o posti con un determinato orientamento. Gli AirTag possono operare in vari modi. Nella modalità operativa “normale”, il tag può risparmiare energia e stabilire momentanee o intermittenti comunicazioni con uno o più dispositivi per confermare la posizione e scambiare alcune informazioni sullo stato o la posizione del tag, in pratica aggiornando periodicamente l’altro dispositivo.
La modalità “lost” (smarrito) si verifica con una inaspettata perdita di comunicazione tra il tag e uno o più dispositivi, permettendo al tag di instradare privatamente trasmissioni cifrate attraverso dispositivi di terze parti per inviare informazioni al proprietario del dispositivo smarrito. In altre parole, un tag segnalato come “smarrito”, può essere silenziosamente individuato quando una persona si trova nelle vicinanze permettendo al proprietario di vedere la posizione del tag.












