Apple ha studiato una tecnologia per la fotocamera che consente di analizzare l’immagine ripresa da iPhone e determinare la temperatura dell’oggetto fotografato.
A riferirlo è il sito Appleinsider citando un brevetto della Casa di Cupertino che permetterebbe, tra le altre cose, di misurare anche la temperatura corporea.
Nel brevetto si legge della possibilità di usare lo smartphone come dispositivo di misurazione della temperatura, un attacco passivo (che non richiede elettronica o alimentazione aggiuntiva) e che quindi non dovrebbe costare molto e non dovrebbe essere difficile da produrre.
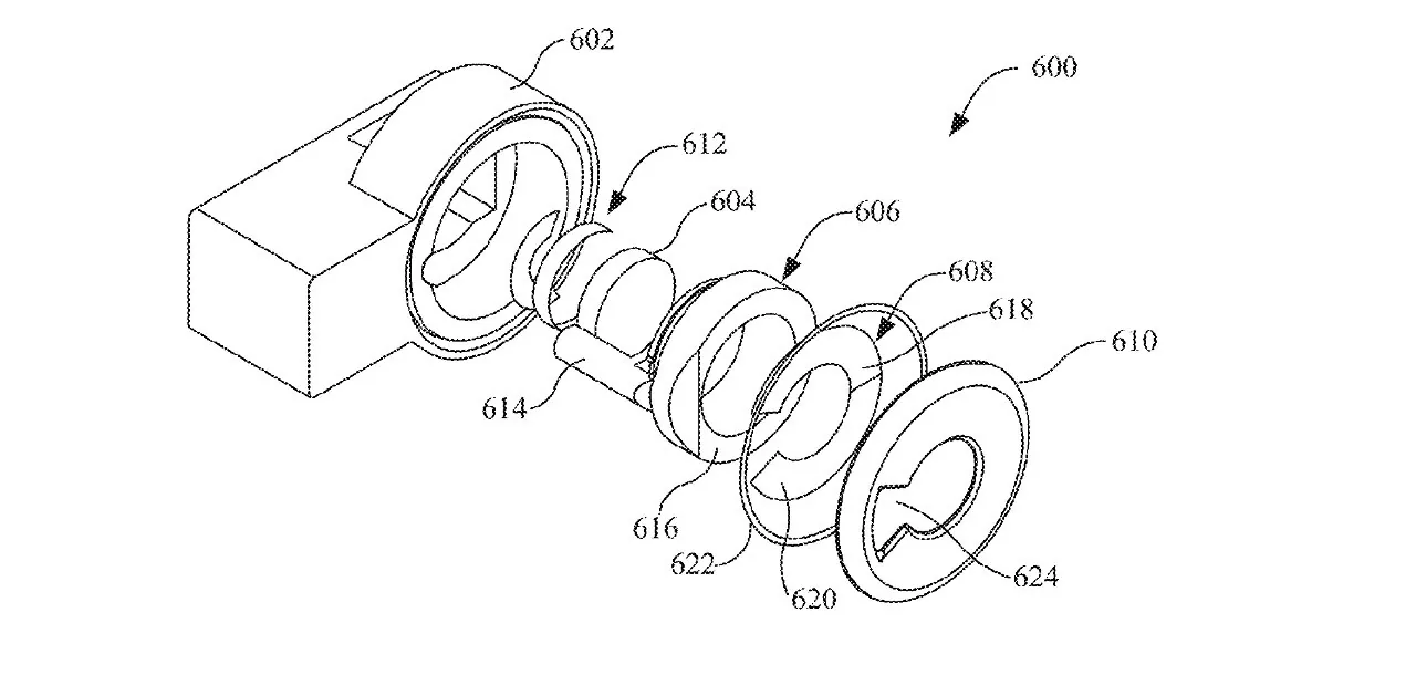
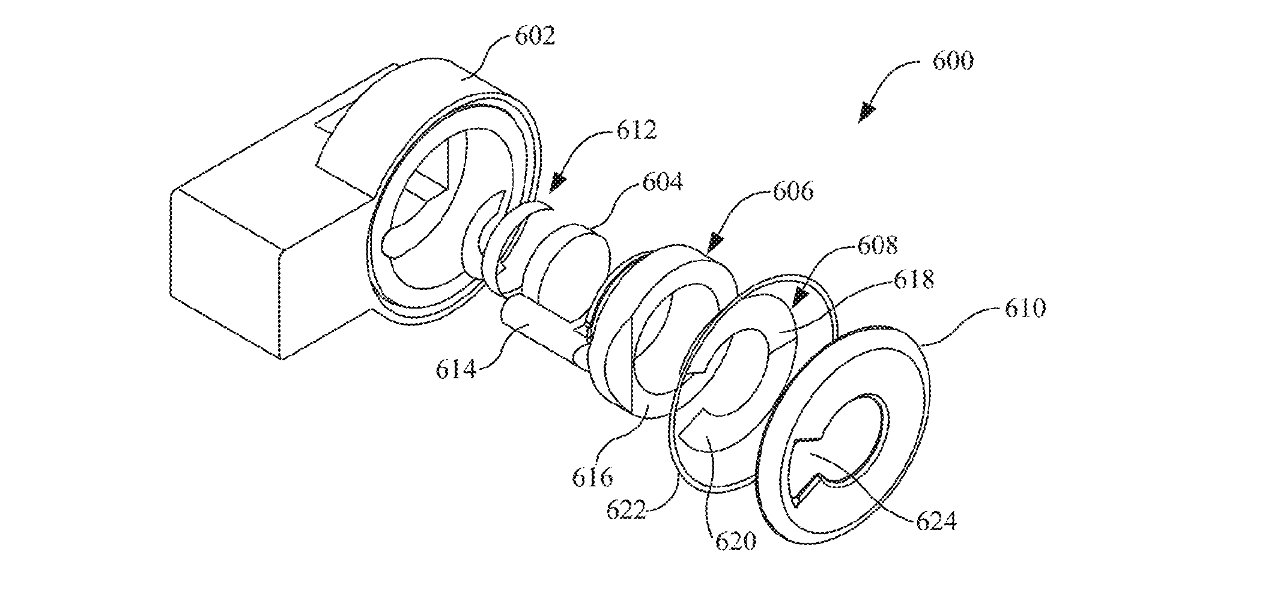
L’attacco a cui si fa riferimento nel brevetto sembra simile al clip Connect X per obiettivi e lenti dello smartphone di Olloclip; anziché far parte integrante della fotocamera, l’accessorio potrebbe essere montato all’occorrenza, quando l’utente ha bisogno di misurare temperature.
Nel brevetto si parla infatti di una montatura predisposta per accoppiarsi con la fotocamera, una struttura creata con un materiale reattivo alla temperatura (TRM) da posizionare nel campo visivo della fotocamera.

Il sistema dovrebbe essere in grado di effettuare misure di temperatura senza contatto e a una certa distanza, puntando idealmente l’oggetto del quale si vuole misurare la temperatura, confrontando anche diversi scatti.
Nella domanda di brevetto sono citati tre inventori, incluso Zijing Zeng, nome che Cupertino ha indicato in altri brevetti legati a funzionalità per il tracking del sonno.
Per conoscere tutte le novità sui brevetti Apple, fate riferimento alla nostra sezione dedicata. Tutti gli articoli di macitynet che parlano di iPhone, iPad e Apple sono disponibili ai rispettivi collegamenti











