Questo sito contiene link di affiliazione per cui può essere compensato

Home » Macity - Apple » Mac » Apple brevetta la tastiera retrattile per MacBook

Apple brevetta la tastiera retrattile per MacBook

E’ ben nota da sempre la strategia di Apple di migliorare ogni aspetto delle sue macchine, e tra questi un ruolo chiave è certamente quello che la multinazionale di Cupertino ha riservato alla tastiera: ora si scopre che Apple ha studiato in un brevetto l’utilizzo di una tastiera che si espande fuori dallo chassis di MacBook e si ritrae di nuovo quando il coperchio è chiuso, una sorta di tastiera retrattile per i suoi portatili.

Gli schermi dei laptop sono sempre stati delicati, e più che mai adesso con il nuovo MacBook Pro da 14 pollici e MacBook Pro da 16 pollici rivisto. Oltre ad essere delicati di per sé, sono talmente tanto migliorati che il rischio di danneggiarli potrebbe certamente turbare ogni utente. Ed allora, l’idea di proteggerlo quando si chiude il coperchio potrebbe in futuro portare a modifiche della tastiera.

apple tastiera retrattile

Quando si chiude il coperchio, infatti, è sufficiente che qualcosa faccia una leggera pressione perché lo schermo subisca danni. Ad esempio, nel 2020 Apple sconsigliò di montare cover sulla lente della fotocamera per evitare di danneggiare lo schermo in chiusura. Allo stesso modo, nel 2015, ci sono stati utenti di MacBook Pro che si sono lamentati del fatto che la semplice chiusura del coperchio provocasse danni al rivestimento dello schermo.

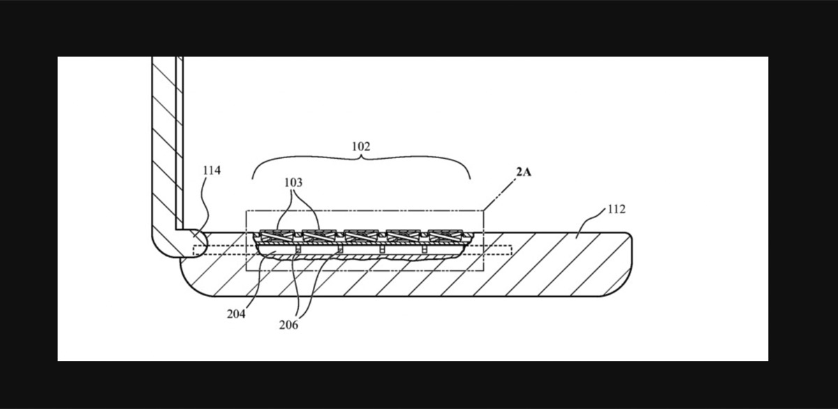
Adesso, un brevetto appena concesso tenta di risolvere alcuni problemi dello schermo, rendendo anche possibile mantenere il MacBook sottile. Le “tastiere retrattili” sono state originariamente depositate come domanda di brevetto ai tempi delle tastiere a farfalla, ma rimangono rilevanti oggi, anche se Apple ha drasticamente migliorato le sue tastiere dei MacBook Pro.

Il nuovo brevetto Apple mira a fare ancora meglio, realizzando una tastiera che si ritrae, e che dunque potrebbe ulteriormente rendere sottile il portatile quando è chiuso. Eppure, questo potrebbe consentire alla tastiera di risultare ancora più comoda per l’utente, ad esempio risultando più ampia quando in uso. Ovviamente, nel momento in cui si ritrae, questo sistema consentirebbe di lasciare indenne il display ed evitare qualsiasi contatto con lo schermo.

Gli utenti si aspettano che i dispositivi abbiano un pulsante o una dimensione del tasto adatta alla pressione di un dito e gli utenti generalmente preferiscono pulsanti o tasti che forniscono un feedback udibile e tattile quando vengono premuti. Pertanto, le interfacce utente come tastiere e altri pulsanti sono progettate per avere una dimensione predeterminata e una quantità di deflessione percepita quando vengono premute

Ovviamente creare una tastiera che rispecchi le aspettative degli utenti può comportare un problema quando la tastiera non è in uso: creare tasti grandi e confortevoli alla pressione si traduce in un maggiore spazio occupato inutilmente quando la tastiera non è in uso.

Apple osserva che “le tastiere sono un’area di particolare interesse” per realizzare dispositivi più sottili, “poiché sono realizzate con uno spazio vuoto interno all’interno delle loro strutture per accogliere il movimento dei tasti”. La proposta di Apple è di fare in modo che lo chassis del MacBook Pro possa muoversi, “ritraendo o estendendo selettivamente i tasti della tastiera rispetto a un supporto interno della tastiera o a un livello di supporto”.

Questo movimento potrebbe realizzarsi tramite “elementi di collegamento magnetici o meccanici mobili [che] sono configurati per riposizionare copritasti e stabilizzatori tra diverse posizioni relative”.

Tutto ricorda la famosa tastiera a farfalla di IBM ThinkPad, dove in questo caso il termine “farfalla” si riferiva a come la tastiera si estendeva dall’involucro. In questo caso, però, a differenza dell’idea IBM, Apple pensa a una tastiera retrattile in grado di espandersi solo verso l’alto aprendo il coperchio dello schermo, e non anche verso l’esterno.

Apple brevetta la tastiera retrattile per MacBook
IBM ThinkPad

Il nuovo brevetto Apple, che ricordiamo non assicura una effettiva realizzazione del progetto, è attribuito a cinque inventori, tra cui Houtan R. Farahani, che ha un precedente brevetto correlato relativo alle “Caratteristiche dell’involucro per un dispositivo di elaborazione portatile”.

Come sempre, ricordiamo che Apple brevetta annualmente centinaia di brevetti e non sempre ciò che viene registrato presso il Patent Office si trasforma in prodotti veri e propri. Per conoscere tutte le novità sui brevetti Apple, fate riferimento alla nostra sezione dedicata.

Offerte Apple e Tecnologia

Le offerte dell'ultimo minuto le trovi nel nostro canale Telegram

Le migliori offerte BLACK FRIDAY con macitynet.it

Pubblicità
Pubblicità

Ultimi articoli