Apple è alla ricerca di specialisti in hardware e software per la realtà virtuale e la realtà aumentata. Si evince da alcuni annunci per la ricerca di personale scovati dal sito 9to5Mac. Una degli annunci riguarda un Senior Display Systems Engineer, un candidato che lavorerà con ingegneri che sviluppano software, ingegneri elettronici e meccanici su hardware per la realtà virtuale. Apple è alla ricerca di qualcuno in grado di testare display per ambienti virtuali, collaborare con vendor di display su hardware personalizzato, progettare e selezionare componenti hardware e software per “una serie” di ambienti VR e relativo software di supporto. Nell’annuncio Apple spiega che il candidato deve “comprendere come gestire display sincronizzando sorgenti multiple con elevati frame rate e basse latenze”, deve avere familiarità “con le insidie nello sviluppo di ambienti VR ad altissima fedeltà”.
Differenti annunci di ricerca del personale riguardano “programmatori VR/AR” sia per quanto riguarda l’hardware, sia per quanto riguarda il software, ingeneri che dovrebbero lavorare allo sviluppo di funzionalità integrate nei dispositivi Apple per la realtà virtuale e aumentata.
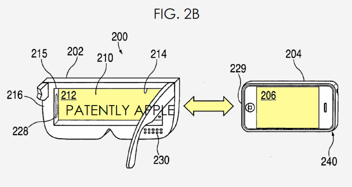
Apple sta da vari anni registrando brevetti nel settore; uno dei brevetti depositato recentemente presso l’United States Patent and Trademark Office, illustra un visore da sfruttare in abbinamento a iPhone (o iPod Touch); è possibile infilare quest’ultimo nell’alloggiamento del visore, facendolo diventare il display principale. Ricordiamo che la Casa della Mela nel 2013 ha comprato PrimeSense, società israeliana nota per avere creato i sensori e la tecnologia per la rilevazione del movimento Kinect di Xbox 360.

![iGuide per i regali di Natale - macitynet..ti CTA Natale iGuida [per Settimio] - macitynet.it](https://www.macitynet.it/wp-content/uploads/2025/12/regali-di-natale-consigli-di-macitynet.jpg)











