Apple sta studiando nuove modalità per rendere i suoi dispositivi resistenti all’acqua, con un sistema di sigillatura a protezione dei liquidi valido anche quando un connettore è collegato a una porta, impedendo a elementi estranei di entrare dall’involucro esterno e portare alla corrosione dei componenti interni.
Il più delle volte la produzione di un dispositivo resistente all’acqua implica semplicemente l’uso di guarnizioni e cover sigillanti al fine di limitare la quantità di liquido che può entrare da una porta inutilizzata. Questo meccanismo è efficace quando la porta non è in uso ma non è altrettanto efficace quando la porta è sfruttata per collegare accessori.
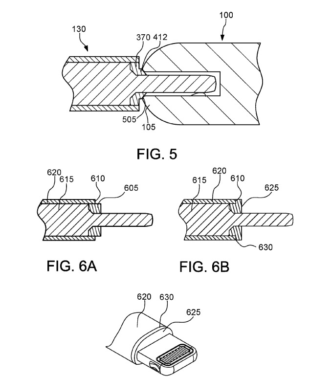
Il sito AppleInsider ha scovato un brevetto della Casa di Cupertino denominato “accessori sigillati per dispositivi elettronici” e che dovrebbe essere una soluzione al problema dell’acqua che può entrare da un connettore. Il brevetto prevede l’uso di una guarnizione deformabile, un elemento che dovrebbe proteggere la porta dai liquidi. Nel brevetto si suggerisce che un connettore di questo tipo è utile per il collegamento di accessori destinati ad ambienti umidi, bagnati o sporchi.
Il brevetto evidenzia varie modalità per arrivare all’obiettivo ma in generale si tratta di sfruttare elementi del connettore per sigillare la porta cui questo è destinato, anziché prevedere meccanismi sulla porta di destinazione. Nei disegni di accompagnamento si mostrano quelli che sembrano connettori Lightning di vario tipo, inclusa una variante con un anello di gomma all’infuori del connettore che funge da guarnizione e in grado di sigillare la porta.
Una diversa variante sfrutta materiale deformabile lungo il connettore che si estende sui bprdi dello stesso partendo dalla guaina. Quando il cavo è inserito nella cavità, il sigillo ottenuto si incastra perfettamente con l’apertura. Una terza variante prevede un connettore di forma conica, sottile dalla parte della punta ma più largo dal verso dell’involucro, ancora una volta un meccanismo per minimizzare qualsiasi fessura che potrebbe facilitare l’ingresso di acqua.
Nel brevetto si fa riferimento anche a un generatore di vuoto per aggiungere ulteriore protezione allontanando l’umidità grazie al vuoto stesso. I nuovi brevetti sembrano essere un ampliamento di altri già esistenti che prevedono meccanismi di vario tipo per rendere più resistenti accessori e dispositivi.
L’iPhone 7, l’iPhone 7 Plus e modelli seguenti, sono ufficialmente resistenti alle gocce, agli schizzi e alla polvere; sono stati testati in laboratorio in condizioni controllate, con una valutazione di IP67 in base allo standard IEC 60529. La resistenza alle gocce, agli schizzi e alla polvere, spiega Apple, non è una caratteristica permanente e potrebbe diminuire con la normale usura. Danni causati da liquidi per un uso al di fuori delle condizioni de rating IP67 non sono coperti dalla garanzia.

![iGuide per i regali di Natale - macitynet..ti CTA Natale iGuida [per Settimio] - macitynet.it](https://www.macitynet.it/wp-content/uploads/2025/12/regali-di-natale-consigli-di-macitynet.jpg)











