Questo sito contiene link di affiliazione per cui può essere compensato

Home » Hi-Tech » Hardware e Periferiche » Apple brevetta l’alimentatore USB con spina retrattile magnetica

Apple brevetta l’alimentatore USB con spina retrattile magnetica

Apple ha brevettato il nuovo a alimentatore USB dal design compatto, destinato al Regno Unito e utilizzabile per caricare i dispositivi a casa, in ufficio o in viaggio. È quanto si evince da un brevetto presentato al Patent & Trademark Office statunitense e dai disegni allegati si comprende che, anziché avere i classici pin fissi per le prese europee o simili come gli odierni alimentatori, questi saranno retrattili, per ridurre ulteriormente gli ingombri in fase di trasporto.

Questo alimentatore è già commercializzato con gli Apple Watch e rappresenta un passo avanti significativo per il mercato britannico. Gli alimentatori per quel paese sono sempre molto ingombranti per la peculiarità delle spine locali che hanno elementi massicci e una disposizione “triangolare” che li rende difficili da maneggiare ma anche da rendere tascabili.

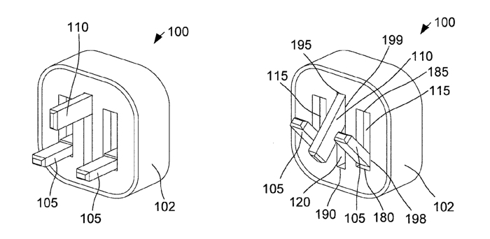
A destra il nuovo alimentatore con spine retrattili

Il nuovo alimentatore USB funziona esattamente come quello già in commercio. Apple parla di “adattatore per la corrente che sfrutta un meccanismo magnetico in grado di ritrarre o dispiegare le punte per interfacciarsi con le prese elettriche. Il meccanismo magnetico è dislocabile in modo lineare dall’utente, convertendo l’allineamento con un movimento rotatorio grazie ad alcuni snodi integrati nei pin. Quando le punte sono dispiegate, rimangono automaticamente in posizione, sulla falsariga di quanto avviene con alcuni adattatori internazionali da viaggio per le prese, in grado di adattarsi automaticamente alle rese bipolari (senza la terra centrale) e alle prese shuko.

Ora resta da vedere se Cupertino importerà alcune delle idee viste nell’alimentatore britannico nelle spine che vediamo in Italia e Francia anche se questi accessori nelle versioni compatibili con le nostre prese elettriche sono molto più compatti di quello UK e presentano problemi di portata minore

alimentatore USB brevetto apple USB-Adapter

Offerte Apple e Tecnologia

Le offerte dell'ultimo minuto le trovi nel nostro canale Telegram

I consigli per i tuoi regali

CTA Natale iGuida [per Settimio] - macitynet.it
iGuide per i regali di Natale - macitynet..ti

Ogni anno testiamo le ultime novità del mercato, per poi raccogliere in articoli dedicati i migliori prodotti per ogni categoria. Queste guide, che aggiorniamo periodicamente, non solo vi permettono di migliorare la vostra attrezzatura ma, visto il periodo, diventano anche un ottimo spunto da cui partire per fare un regalo coi fiocchi ai propri cari.

A tal proposito le trovate organizzate qui sotto per tipologia, così da facilitarvi ulteriormente la ricerca del Regalo Perfetto. Le guide vengono modificate di continuo e fino a Natale vedrete man mano aggiungersi quelle che aggiorneremo.

Partiamo dai migliori:

iPhone e Smartphone

iPad e tablet

Mac e PC

Fotografia e Creatività

Viaggiaresmart

Audio e Video

Intrattenimento

Pubblicità
Pubblicità

Ultimi articoli