Nella giornata di ieri sono stati registrati 48 nuovi brevetti Apple per diverse tecnologie e soluzioni alcuni di questi, come vedremo sono già impiegati in prodotti della Mela altre invece, la maggior parte, non diventeranno mai un prodotto reale. Tra i brevetti depositati e già impiegati da Apple troviamo quello dell’attuale icona di iPhoto, dominata dall’immagine di una palma a sinistra: nell’immagine stilizzata del brevetto registrato l’icona è perfettamente riconoscibile anche se manca il disegno della fotocamera in basso a destra.
Tra i nuovi brevetti Apple più interessanti invece troviamo la descrizione di una tecnologia per gesture sonore da abbinare a GarageBand e anche una soluzione per integrare un sistema audio surround completo all’interno di un computer portatile. Con le gesture sonore l’utente può suonare strumenti a percussione disegnati su uno schermo touch: dopo il tap sul display per suonare, trascinando uno oppure due dita è possibile modificare il volume, la ripetizione, il tono o altri parametri audio, semplicemente spostando in alto o in basso lo swipe.
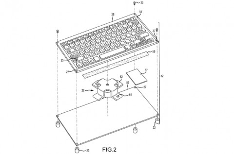
Nel brevetto Apple dedicato invece al sistema audio surround per notebook sono inclusi alcuni schemi che mostrano l’installazione di diversi speaker, in totale ben 4, nello chassis del computer più un trasduttore audio posizionato sotto la tastiera e orientato verso il fondo dello chassis. Gli altri speaker sono installati ai due lati dello schermo e anche sopra e sotto la tastiera. A rilevare la registrazione dei 48 nuovi brevetti Apple è il sito Patently Apple, interamente dedicato alla ricerca delle domande di brevetto di Cupertino e alle registrazioni avvenute presso l’USPTO, l’ufficio statunitense che si occupa di marchi e brevetti

![iGuide per i regali di Natale - macitynet..ti CTA Natale iGuida [per Settimio] - macitynet.it](https://www.macitynet.it/wp-content/uploads/2025/12/regali-di-natale-consigli-di-macitynet.jpg)











