Un prossimo modello di AirPods potrebbe trarre vantaggio dalla tecnologia di conduzione ossea per migliorare la fruizione dell’audio in una varietà di situazioni in cui gli auricolari normali non risultano efficaci, con un sistema che combina conduzione ossea con la normale trasmissione del suono.
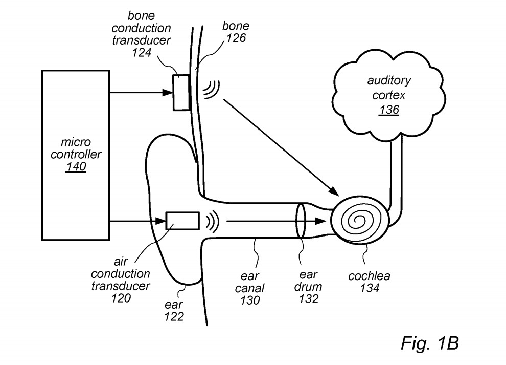
Nel corso degli anni, la conduzione ossea è stata il metodo più semplice per consentire agli utenti di ascoltare musica o rispondere alle telefonate senza fare affidamento sugli auricolari. Invece di trasmettere il suono attraverso l’aria, i dispositivi a conduzione ossea toccano punti specifici sulla testa dell’utente, inviando il suono direttamente alle ossa del cranio e attraverso l’orecchio, dove le vibrazioni vengono tradotte in suono.

In un brevetto concesso ad Apple dall’Ufficio brevetti e marchi degli Stati Uniti, si legge della possibilità d mitigare gli svantaggi della conduzione ossea, in parte attraverso il supporto di metodi standard, ossia conduzione dell’aria.
Utilizzando entrambe le tecnologie, futuri AirPods potrebbero ad esempio inviare alcuni segnali audio attraverso la conduzione ossea, mentre per le componenti ad alta frequenza utilizzare l’invio standard attraverso l’orecchio.
Apple suggerisce, peraltro, che il sistema di conduzione dell’aria viene costruito in modo tale da non bloccare il condotto uditivo da altre fonti audio, in particolare consentirebbe comunque all’utente di ascoltare i suoni provenienti dall’ambiente circostante. Il risultato è un sistema in cui l’utente ha i vantaggi della conduzione ossea rispetto all’audio ambientale, pur continuando a ricevere i benefici dell’intera gamma audio, ricevendo suoni ad alta frequenza tramite il metodo più tradizionale.
Il file elenca come “inventore” Tomlinson Holman, ed è stato inizialmente depositato il 25 maggio 2018. Naturalmente, non è la prima volta che Apple esamina la tecnologia a conduzione ossea. Le domande di brevetto del 2014 e 2015 indicano che già allora stava esaminando la possibilità di auricolari wireless con tale sistema di conduzione audio. Nonostante gli anni di lavoro, Apple deve ancora introdurre una qualche forma di prodotto a conduzione ossea, e AirPods potrebbe essere un candidato adatto per tale scopo.
Gli AirPods sono i primi auricolari Bluetooth di Apple. La prima versione è stata presentata nel settembre dl 2016 e provati da Macitynet qui. Apple il 20 marzo 2019 ha introdotto gli Airpods 2 dismettendo la prima versione di Airpods. A questo link la recensione degli AirPods 2.
Infine la recensione di AirPods Pro è disponibile da questo collegamento. Tutti gli articoli di macitynet che parlano di AirPods sono disponibili da questa pagina.

![iGuide per i regali di Natale - macitynet..ti CTA Natale iGuida [per Settimio] - macitynet.it](https://www.macitynet.it/wp-content/uploads/2025/12/regali-di-natale-consigli-di-macitynet.jpg)











