Questo sito contiene link di affiliazione per cui può essere compensato

Home » Hi-Tech » Foto, Video e Audio Digitale » Sony brevetta il sensore fotografico curvo

Sony brevetta il sensore fotografico curvo

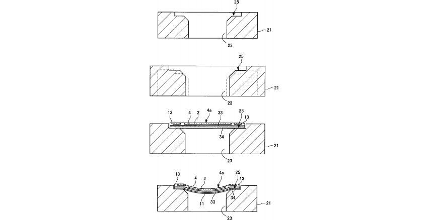
Sony ha depositato un interessante brevetto per un sensore fotografico curvo. Il brevetto riguarda la possibilità di incurvare la superficie di un sensore CMOS: questa soluzione sarebbe molto utile perché oltre a seguire la conformazione dell’occhio umano apporterebbe diverse migliorie conseguenti, come la possibilità di realizzare lenti prive di aberrazione cromatica, capaci di garantire grande nitidezza anche verso i bordi e maggior sensibilità verso il centro, con la possibilità quindi di produrre obiettivi con elevata apertura senza dover affrontare problematiche ottiche di difficile soluzione o senza dover rinunciare alla qualità di immagine. Così Sony descrive il suo sensore fotografico curvo:

Abbiamo realizzato un sistema fotografico che comprende un sensore CMOS retroilluminato (BSI) curvo, che raddoppia la sensibilità al bordi dell’immagine e aumenta la sensibilità al centro dell’immagine di un fattore di 1.4 con una corrente di buio inferiore a quella di un sensore piatto. Poiché l’aberrazione di campo è superato del sensore fotografico curvo di per sè, il sensore fotografico curvo consente una sensibilità del sistema superiore attraverso la progettazione di un obiettivo più luminoso con un’apertura più piccola di quanto sia possibile con un sensore piano.

L’arrivo di una tipologia di sensore di questo genere potrebbe migliorare nettamente la potenziale qualità fotografica delle fotocamere, comprese quelle dei cellulari. Sony si conferma dunque al momento l’azienda che forse più di ogni altra sta macinando innovazioni e si sta lanciando sul mercato fotografico con risultati fino adesso sicuramente degni di lode.

Sony-Curved-Sensor-Application_zps9b8e4e84

Offerte Apple e Tecnologia

Le offerte dell'ultimo minuto le trovi nel nostro canale Telegram

I consigli per i tuoi regali

CTA Natale iGuida [per Settimio] - macitynet.it
iGuide per i regali di Natale - macitynet..ti

Ogni anno testiamo le ultime novità del mercato, per poi raccogliere in articoli dedicati i migliori prodotti per ogni categoria. Queste guide, che aggiorniamo periodicamente, non solo vi permettono di migliorare la vostra attrezzatura ma, visto il periodo, diventano anche un ottimo spunto da cui partire per fare un regalo coi fiocchi ai propri cari.

A tal proposito le trovate organizzate qui sotto per tipologia, così da facilitarvi ulteriormente la ricerca del Regalo Perfetto. Le guide vengono modificate di continuo e fino a Natale vedrete man mano aggiungersi quelle che aggiorneremo.

Partiamo dai migliori:

iPhone e Smartphone

iPad e tablet

Mac e PC

Fotografia e Creatività

Viaggiaresmart

Audio e Video

Intrattenimento

Pubblicità
Pubblicità

Ultimi articoli