Alcuni produttori di smartphone hanno trovato il modo di nascondere la fotocamera anteriore sotto lo schermo e altre, per non abbassare troppo la qualità delle riprese, ha ideato sistemi ribaltabili e periscopici. Oppo invece ha appena brevettato una soluzione ancora più insolita, rendendo il modulo della fotocamera direttamente removibile.
Una soluzione del genere ha probabilmente vantaggi e svantaggi che dipendono dalla tecnologia impiegata. Avere un modulo separato consente principalmente di eliminare la fotocamera anteriore senza però rinunciarne ai vantaggi, per di più beneficiando di una qualità maggiore (e sappiamo a che punto orami sono arrivate le fotocamere principali che montano gli smartphone).
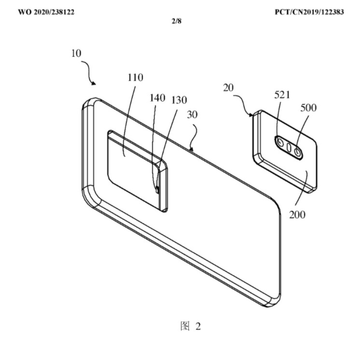
Un modulo separato diverrebbe di fatto una sorta di action cam dentro lo smartphone, che continuerebbe comunque ad essere il monitor principale per controllare la ripresa a distanza. Dal brevetto si legge che questo modulo integra due fotocamere, una presa USB-C e le tecnologie NFC, WiFi e Bluetooth, quindi c’è una batteria ricaricabile perfino separatamente che alimenta il sistema e che consente di usare il modulo anche come soluzione a lunga durata per le videochiamate.
L’uso come action camera potrebbe essere perfino potenziato dalla combinazione di due o più moduli della fotocamera, ma la documentazione depositata presso l’ufficio brevetti non ne fa menzione. Si potrebbe perfino creare un mercato a parte, consentendo magari di sostituire soltanto il modulo fotocamera con uno migliore senza dover cambiare tutto il telefono, il che in ottica ambientale sarebbe il massimo visto che, arrivati a questo punto, ormai la differenza tra una generazione e l’altra non la fa più tanto la potenza del processore quanto la qualità delle fotocamere.
Stiamo però andando davvero oltre con l’immaginazione perché il brevetto non descrive neanche questo. In più, per l’appunto, è di un brevetto che stiamo parlando e non della roadmap di un prodotto in arrivo. Non sappiamo se Oppo realizzerà davvero questo smartphone, anche perché è stata tra le prime ad integrare il sistema di fotocamere a scomparsa di Oppo Find X e anche tra le più veloci ad abbandonare questa strada, tornando ad un sistema più convenzionale già con l’Oppo Find X2 Pro.
L’azienda ha già dimostrato di avere molta inventiva, ad esempio attraverso lo smartphone arrotorabile presentato il mese scorso. Chissà, magari uno smartphone con modulo fotocamera removibile arriva prima.

![iGuide per i regali di Natale - macitynet..ti CTA Natale iGuida [per Settimio] - macitynet.it](https://www.macitynet.it/wp-content/uploads/2025/12/regali-di-natale-consigli-di-macitynet.jpg)











