Dal Patent Office statunitense si apprende di un brevetto registrato da Apple nel quale si fa riferimento a “sistemi con display sovrapposti”, lasciando immaginare in futuro la possibilità di disporre di un sistema che permette all’utente di interagire con i display di dispositivi differenti, sovrapposti uno sull’altro.
Nel brevetto Apple spiega che dispositivi elettronici quali computer e telefoni cellulari sono spesso usati come dispositivi indipendenti; è possibile condividere dati in vari modi usando connessioni wireless ma queste funzionalità possono risultare scomode e poco intuitive.
L’idea di Apple è un sistema per permettere agli utenti di questi dispositivi di comunicare in modi nuovi. Gli oggetti citati integrano tutti un display e nel brevetto della Casa di Cupertino si evidenzia la possibilità di sovrapporre l’oggetto più piccolo sul display del più grande.
Collocando due dispositivi uno sopra l’altro, i due oggetti potrebbero sfruttare una “Linked Mode” (modalità collegata) consentendo di eseguire operazioni, passando dall’uno all’altro senza soluzione di continuità, utile ad esempio per spostare il puntatore dal display del primo dispositivo all’altro o “prelevare” con il drag&drop un contenuto e spostarlo sull’altro dispositivo), come se fosse un unico oggetto.
I dispositivi immaginati da Apple integrano dei sensori in grado di determinare movimento e orientamento, la porzione del dispositivo che sovrasta quello sottostante, regolando di conseguenza funzionalità di input e affini.

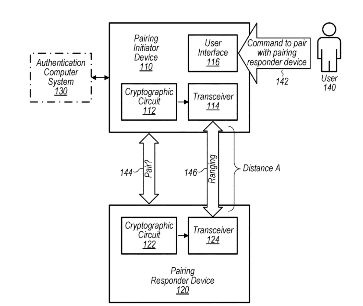
In un diverso brevetto (sempre scovato presso il Patent Office USA) si fa riferimento alla possibilità di comprendere quanto siano distanti l’uno dell’altro due dispositivi e scambiare “messaggi” in modo molto semplice e intuitivo mettendoli uno a fianco all’altro, dopo l’ok dei rispettivi utenti, senza bisogno di ulteriori interazioni.
Come sempre ricordiamo che Apple brevetta annualmente centinaia di brevetti e non sempre ciò che viene registrato presso il Patent Office si trasforma in prodotti veri e propri. Per conoscere tutte le novità sui brevetti Apple, fate riferimento alla nostra sezione dedicata.











