L’auto di Apple nome in codice Project Titan, potrebbe essere accompagnata da un accessorio che faciliterà il compito di ricaricare il veicolo in casa, un piccolo robot in grado di interfaccciarsi con un punto sotto il veicolo e ricaricare la vettura utilizzando anche una normale presa domestica.
Non è ancora chiaro in che cosa consista Project Titan di Apple. Voci circolate in passato affermano che si tratta di un vero e proprio veicolo a guida autonoma; altre voci più recenti hanno riferito di un ridimensionamento del progetto, affermando che da diversi mesi Cupertino starebbe lavorando su tecnologie generiche legate alla guida autonoma, lasciando poi a terzi il compito di realizzare il veicolo vero e proprio.
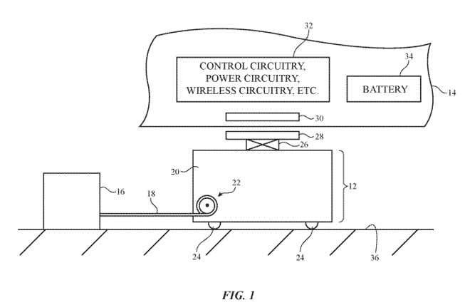
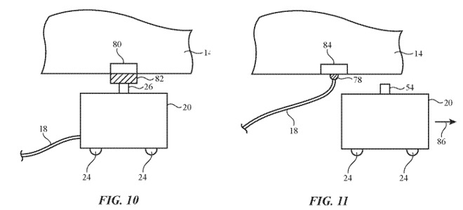
Presso il Patent and Trademark Office statunitense è stato scovato il brevetto di un sistema di ricarica che sembra la risposta al problema di ricordarsi di ricaricare il veicolo quando si ritorna a casa, collegando l’auto a un box di ricarica o a una normale presa non necessariamente presidiata.
Apple ha in pratica creato un dispositivo che rimane poggiato sul pavimento e si avvicina alla vettura quando necessario. All’arrivo dell’auto, il dispositivo è pronto a entrare in azione e fornire alimentazione ad Apple Car sfruttando un ricevitore montato a parete, come segnala AppleInsider. La multinazionale di Cupertino ha previsto varie modalità di ricarica, con filo e senza, prevedendo vari meccanismi per fare in modo che il cavo di ricarica non intralci le attività e che la presa non si danneggi e non surriscaldi, decidendo di volta in volta quanta potenza impegnare per la ricarica.
Il progetto di Apple per vetture a guida autonoma, nome in codice Project Titan, è stato più volte rivisto e riorganizzato: nel corso del tempo il team dedicato ha subito profonde modifiche nel numero delle persone dedicate e dei manager assegnati. Il CEO di Apple, Tim Cok, nel 2017 ha confermato che Apple sta lavorando a un sistema di guida autonoma, senza ovviamente rivelare ulteriori dettagli.
«Ci stiamo focalizzando sui sistemi a guida autonoma» aveva dichiarato Cook nel corso di una intervista di Bloomberg Television «È una tecnologia chiave che riteniamo essere molto importante». «La vediamo un po’ come la madre si tutti i progetti legati all’Intelligenza Artificiale». E ancora «È probabilmente uno dei progetti più complessi sui quali stiamo al momento lavorando».
Trovate tutte le notizie e le indiscrezionu su Project Titan e Apple Car partendo da questa pagina di Macitynet.













