Apple ha brevettato un sistema nel quale intere città sono immaginate dotate di trasmettitori a bassa potenza in grado di inviare in modo preciso dati sulla posizione ma anche allarmi in modo dinamico, verso iPhone e sistemi di navigazione dell’auto.
Può essere immaginato come un sistema GPS next gen, una soluzione di navigazione basata su beacon ma su grande scala, in grado di completare o sostituire il GPS tradizionale. Anziché essere sfruttato per aiutare gli utenti di iPhone a individuare l’auto in un parcheggio sotterraneo spiega Appleinsider, o triangolare la posizione usando avanzati algoritmi di geofencing, l’idea di Apple sembra essere una risposta a debolezze intrinseche di tutti i sistemi di navigazione GPS.
Il sistema in questione permetterebbe di risolvere il problema della ricezione del segnale nelle aree densamente popolate, presente soprattutto nei cosiddetti “canyon urbani”, quali vie strette o viali notevolmente alberati, in cui è difficile acquisire il segnale dai satelliti e decifrarne il messaggio di navigazione contenente coordinate e altri dati. La soluzione di Apple consumerebbe meno energia rispetto a GPS assistito (A-GPS), localizzazione mediante Wi-Fi e altre tecnologie di triangolazione.
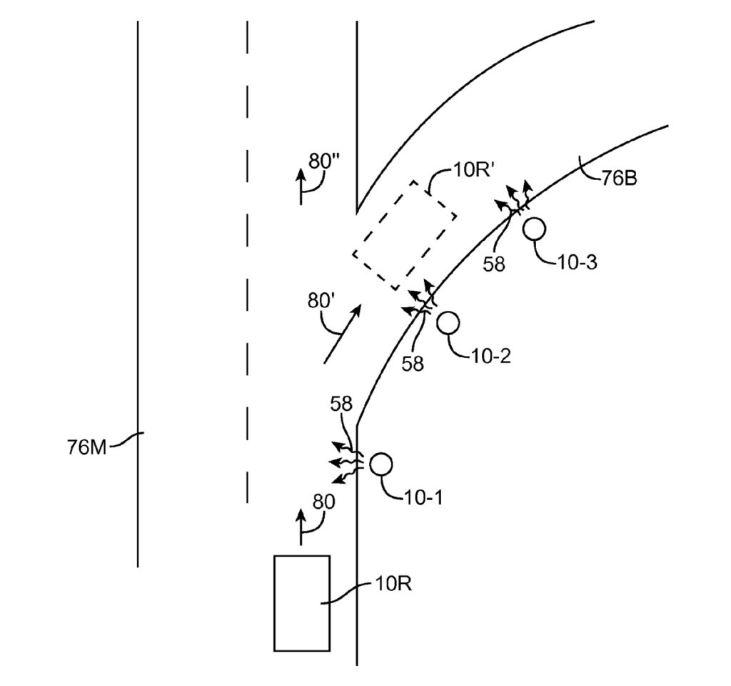
Negli esempi del brevetto si mostrano una serie di trasmettitori da installare in punti strategici, vicini o in prossimità delle strade (es. edifici laterali, semafori, segnali stradali, guard rail e altre strutture); ogni trasmettitore è sostanzialmente un hub wireless smart alimentato a corrente o energia solare e con integrati transceiver radio, supporto Bluetooth Low Energy, Wi-Fi e protocolli per il trasferimento di dati GPS.
Queste “stazioni” inviano dati permettendo al dispositivo ricevente di estrapolare dati sulla distanza in base al parametro RSSI (Received Signal Strength Indication). Il dispositivo ricevente può stabilire in modo assoluto la posizione in base al numero e alla qualità dei messaggi ricevuti, sfruttando varie opzioni inclusa la triangolazione e il cosiddetto “tempo di volo”.
Varie le possibilità d’uso di simili sistemi: oltre a migliorare la precisione delle funzioni di localizzazione, il sistema potrebbe essere sfruttato in qualche modo per le auto a guida autonoma per trasmettere a queste informazioni sul traffico, condizioni della strada o altri dettagli. L’utente potrebbe ad esempio essere avvisato dell’improvviso cambio del limite di velocità, pericoli sulla strada, avversità meteo e altro ancora.


![iGuide per i regali di Natale - macitynet..ti CTA Natale iGuida [per Settimio] - macitynet.it](https://www.macitynet.it/wp-content/uploads/2025/12/regali-di-natale-consigli-di-macitynet.jpg)











