Apple ha finalmente ottenuto il brevetto sul design dell’Apple Store di Shanghai, che comprende non solo il form factor, ma più specificamente il tipo di costruzione in vetro e metodi utilizzati per erigere la struttura. L’inconfondibile cilindro dell’Apple Store di Shanghai è realizzato quasi interamente da enormi lastre di vetro monolitico, con il solo collegamento di giunti forgiati in metallo, lastre incurvate ed unite per creare un cerchio e infine un cilindro. Apple osserva che la tecnologia in vetro laminato convenzionale dell’epoca era insufficiente per creare pannelli che potessero soddisfare i requisiti strutturali per supportare i carichi necessari.
Invece di usare i metodi convenzionali, Apple ha impiegato pannelli in vetro unico e travi con raccordi metallici integrati per creare un edificio solido. La laminazione dei raccordi direttamente nel vetro stesso aumenta la rigidità strutturale dei pannelli combinati e prevede una costruzione più semplice per l’Apple Store di Shanghai.
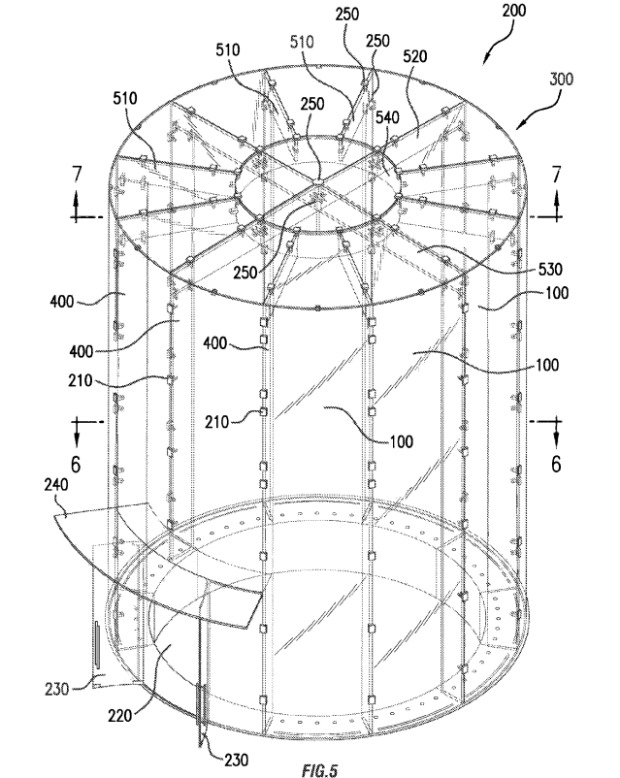
La chiave e la forza dell’Apple Store di Shanghai sono rappresentati da un supporto centrale cilindrico in vetro arcuato, collegato ai grandi pannelli di vetro esterno tramite una serie di travi sempre in vetro. Infine, un tetto di vetro composto da più pannelli è supportato da una serie di alette di vetro che vengono raccordate dalla parte superiore della struttura al pavimento.
Il brevetto va più nel dettaglio per quanto riguarda le specifiche di ogni singolo pezzo di vetro e offre una panoramica di come il cilindro dovrebbe essere costruito per ottenere risultati ottimali. Nel documento è citato anche un altro brevetto per le strutture di supporto in vetro laminato, in parte attribuite anche a Steve Jobs.












