Numerose società stanno sviluppando sistemi di comunicazione tra auto per una serie di funzioni, in primis la sicurezza: la soluzione studiata da Cupertino però non si basa sulle reti cellulari di prossima generazione, bensì su ricetrasmettitori installati nei quattro angoli dei veicoli.
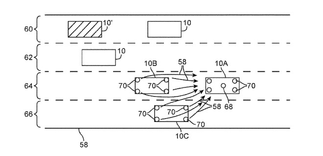
Negli schemi e nella descrizione del brevetto depositato da Cupertino vengono rilevati i limiti dei sensori di bordo, come quelli per il parcheggio e altri, utili per le manovre a veicolo fermo o quasi. Gli ingegneri puntano all’impiego di ricetrasmettitori per le comunicazioni tra auto quando invece i veicoli sono in movimento anche a velocità sostenuta, condizioni in cui assenza di visuale e informazioni mancanti possono generare incidenti gravi e anche mortali.
Grazie ai ricetrasmettitori installati nei 4 angoli delle auto i veicoli possono inviare e ricevere dati sulla posizione, l’ingombro del veicolo, la velocità e altro ancora, informazioni che il sistema può interpretare per avvisare il guidatore, per esempio quando si rende necessaria una manovra evasiva. Avvisi e allarmi possono tener conto del traffico, della eventuale presenza di motociclette, camion o di veicoli di emergenza.

Le ultime indiscrezioni su Project Titan riferiscono di riduzione del personale che viene assegnato ad altri team della multinazionale: al momento non è chiaro lo stato avanzamento lavori di Cupertino nel campo delle auto a guida autonoma.











