Si vocifera che il futuro iPhone 17 Air sarà ultrasottile (5,65mm) ma questa peculiarità potrebbe obbligare Apple ad alcuni compromessi in termini di capacità della batteria, al punto che la Mela potrebbe dover contare sulla resurrezione della custodia Smart Cover Battery, anzi meglio, un battery pack esterno.
Nel Patent Office statunitinese è stato scovato un brevetto di Apple (“Magnetically Attachable Battery Pack”) che potrebbe essere il riferimento a un sottilissimo battery pack per iPhone 17 Air, accessorio che permetterebbe di limitare il problema della durata della batteria.
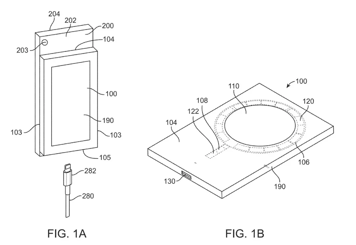
Nel brevetto Apple spiega che alcuni dispositivi per la ricarica possono essere complicati da usare, ingombranti e non pratici da trasportare. può inoltre essere complicato fornire alimentazione a un dispositivo da caricare. È spesso necessario usare un cavo o un convertitore di tensione, e solo dopo che il dispositivo viene connesso per ricevere energia e avviare la carica, è possibile accenderlo.
Secondo Apple un battery pack magnetico semplifica il problema, è facile da usare e collegare, può essere realizzato con un form factor compatto ed efficiente ed essere subito pronto all’uso.
Questo tipo di accessorio è stato in precedenza denigrato e repentinamente cancellato da Apple, prima lanciato in versione, appunto, di cover (lanciata per la prima volta nel 2015) e ripensato come batteria magnetica (Magsafe Battery Pack), ma che alla fine aveva una sua utilità quando si aveva bisogno di aumentare l’autonomia del telefono.
Quando venne presentata ai tempi degli iPhone 6, la Smart Battery Case serviva a prolungare la vita operativa di telefoni anche quando le prestazioni della batteria interna cominciavano a diminuire. Successivamente con il lancio degli iPhone 12 e iPhone 13 con il Magsafe Battery Pack, Apple rivisitò quel concetto in una versione più minimalista, senza custodia destinandolo essenzialmente agli iPhone mini.

Come sempre ricordiamo che Apple brevetta ogni anno centinaia di brevetti, ma non sempre ciò che viene registrato presso il Patent & Trademark Office statunitese o l’EUIPO (l’Ufficio dell’Unione europea per la proprietà intellettuale incaricato di gestire i marchi, i disegni e modelli dell’UE) si trasforma in prodotti veri e propri.
Per conoscere tutte le novità sui brevetti Apple, è possibile fare riferimento alla sezione dedicata di macitynet.

![iGuide per i regali di Natale - macitynet..ti CTA Natale iGuida [per Settimio] - macitynet.it](https://www.macitynet.it/wp-content/webp-express/webp-images/uploads/2025/12/regali-di-natale-consigli-di-macitynet.jpg.webp)











