Apple continua a lavorare su Apple Car e ha ideato nuovi modi per migliorare il sistema di guida automatica con meccanismi che prevedono l’uso di sensori da affiancare al sistema LiDAR per il telerilevamento di oggetti che scansiona l’ambiente circostante in modalità tridimensionale.
A riferirlo è Appleinsider che ha scovato un brevetto presso il Patent and Trademark Office statunitense denominato “Shared sensor data across sensor processing pipelines” nel quale la Mela prevede l’uso di più processi in gioco nell’ambito di un sistema di guida autonoma, elemento che permette di agire tenendo conto di differenti fonti di dati.
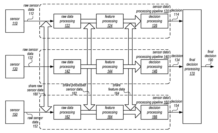
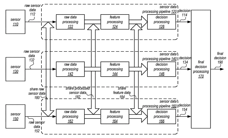
Nella sua forma più semplice, un tipico sensore dedicato al processamento della pipeline di elaborazione dati si occupa della raccolta dei dati ottenuti da un sistema di elaborazione, determinando la situazione e una serie di linee di condotta rilevanti da inviare ad altri sistemi. In genere, i dati rilevati da un sensore sono limitati a una sola pipeline dati e non influiscono altri sistemi.
Nel progetto di Apple, le pipeline sono in grado di prendere una decisione, in base alla percezione dei dati raccolti da pipeline multiple, tenendo conto di potenziali decisioni diverse i dati che arrivano da diverse collezioni di sensori. Apple propone in pratica la fusione dei sistemi decisionali, combinando gli elementi di due determinati stati.
Apple evidenzia che i dati di cui si tiene conto in questo sono più granulari, tenendo conto di decisioni effettuate e convalidate in differenti fasi del rilevamento dati di ciascuna pipeline. I dati possono essere condivisi tra pipeline e influenzare altri processi, possono includere dati raw di sensori, dati ricavati e derivati dai sensori. Con più punti di riferimento con i quali lavorare, il sistema di controllo ha più informazioni per creare una linea di azione e prendere decisioni più “ponderate”.
Tra i sensori che è possibile coinvolgere in questo sistema, Apple cita, ad esempio: infrarossi radar, GPS, sensori inerziali e sensori di velocità angolare. I nomi citati come brevetti sono: Xinyu Xu, Ahmad Al-Dahle e Kshitiz Garg.
Apple è una delle aziende autorizzate a effettuare test sulle auto a guida autonoma in California.Il progetto “Titan” non è stato abbandonato ma probabilmente è stato ridimensionato. Nel 2016 la Mela ha deciso di frenare le sue ambizioni nel settore delle auto a guida autonome, il corposo staff che si occupava del progetto è stato rimodulato. Tim Cook nel 2017 ha ad ogni modo dichiarato che l’azienda lavora su non meglio precisati progetti per la guida autonoma ma un anno addietro 190 persone hanno lasciato il gruppo di lavoro, probabilmente operatori che avevano l’obbligo di intervenire in caso di problemi sui veicoli usati per le prove.
Su macitynet trovate tutte le notizie dedicate a Project Titan e Apple Car a partire da questa pagina.

![iGuide per i regali di Natale - macitynet..ti CTA Natale iGuida [per Settimio] - macitynet.it](https://www.macitynet.it/wp-content/uploads/2025/12/regali-di-natale-consigli-di-macitynet.jpg)











