Apple ha cambiato più volte le tipologie di tastiere usate sui notebook, passando negli ultimi anni da quella sottile con un meccanismo a farfalla (che si è rivelata problematica) di prima, seconda e terza generazione che doveva essere “più reattiva e confortevole”, per arrivare alla Magic Keyboard con meccanismo a forbice, la tastiera più comoda mai vista su un notebook Mac, leggermente più spessa (escursione di 1 mm) ma finalmente esente da vari problemi che erano stati evidenziati con il precedente meccanismo.
La Magic Keyboard sembra al momento la migliore soluzione possibile ma Apple continua a cercare modi per rendere più sottile la tastiera: è quanto si evince da un brevetto scovato dal sito Appleinsider presso il Patent Office statunitense. Il brevetto n. 20200201399 sembra trarre ispirazione da un meccanismo visto in alcune vecchie tastiere a farfalla di IBM. N
on è il meccanismo a farfalla come inteso da Apple finora ma un sistema che sembra riguarda l’intera tastiera nella sua interezza. Sul vecchio IBM ThinkPad 701C del 1995 la tastiera dispiegava sotto lo schermo come le ali di una farfalla, grazie ad un ingegnoso sistema: la tastiera era divisa diagonalmente lungo la linea dei tasti 4, T, H e M; abbassando lo schermo, un meccanismo portava la porzione destra sotto quella sinistra e poi le univa di nuovo, un po’ come dividere una barretta di cioccolata per la diagonale facendo poi combaciare di nuovo i diversi pezzi. Il sistema permetteva di avere una testiera spaziosa, ideale lavorare ma in un corpo più piccolo dei competitor.
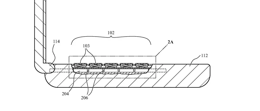
Nel brevetto di Apple non si parla di IBM ma il sistema sembra ricordare quello di Big Blue, con un meccanismo che consente alla tastiera di “espandersi” a piena larghezza (con il coperchio aperto) e “rimpicciolirsi” quando l’utente chiude il coperchio.
Nel brevetto Apple evidenzia varie peculiarità di cui ha tenuto conto per ottimizzare lo spazio e ridurre lo spessore complessivo, con sistemi di stabilizzazione varia e un meccanismo retrattile che consente di alzare e abbassare la tastiera quanto non è necessario tenerla in alto (posizione neutrale).

A novembre dello scorso anno Phil Schiller, Senior Vice President Worldwide Marketing di Apple, aveva fatto capire al sito Cnet che la tastiera a farfalla non è ancora del tutto morta, lasciando intendere che in futuro potrebbero arrivare prodotti con varianti migliorate di questo meccanismo.
Come sempre ricordiamo che Apple deposita e registra ogni anno centinaia di brevetti e non sempre questi si trasformano in prodotti che poi vengono effettivamente commercializzati. Per conoscere tutte le novità sui brevetti Apple, fate riferimento alla nostra sezione dedicata.
![iGuide per i regali di Natale - macitynet..ti CTA Natale iGuida [per Settimio] - macitynet.it](https://www.macitynet.it/wp-content/webp-express/webp-images/uploads/2025/12/regali-di-natale-consigli-di-macitynet.jpg.webp)











