Apple sta lavorando a uno chassis in alluminio per le tastiere dei MacBook con una particolarità: ogni pulsante è perforato e usa una serie di LED che possono cambiare aspetto in modo da cambiare al volo l’indicazione mostrata in superficie.
In pratica l’azienda sta sperimentando un’altra soluzione per unire la comodità delle tastiere virtuali che cambiano aspetto in base alla lingua impostata e all’applicazione in uso, alla sensazione tattile del pulsante meccanico che ad oggi nessun motorino di vibrazione o altra tecnologia è in grado di replicare abbastanza fedelmente.
Perché potrebbe essere la volta buona
Non è la prima volta che Apple studia qualcosa di simile: in passato alcuni brevetti mostravano una sorta di tastiera con capacità camaleontiche date dalla presenza di mini-schermi per ogni tasto. In questo caso invece si usano dei più semplici LED, quindi c’è meno tecnologia (e il prezzo probabilmente sarà più abbordabile) e forse anche una maggiore durabilità.
In base a quanto si apprende dai nuovi brevetti, questa tastiera a colpo d’occhio non sembra diversa da quelle attuali: è costruttivamente migliore perché i tasti sono in alluminio anziché in plastica e quando il MacBook è spento si mostrano senza segni visibili sui tasti.
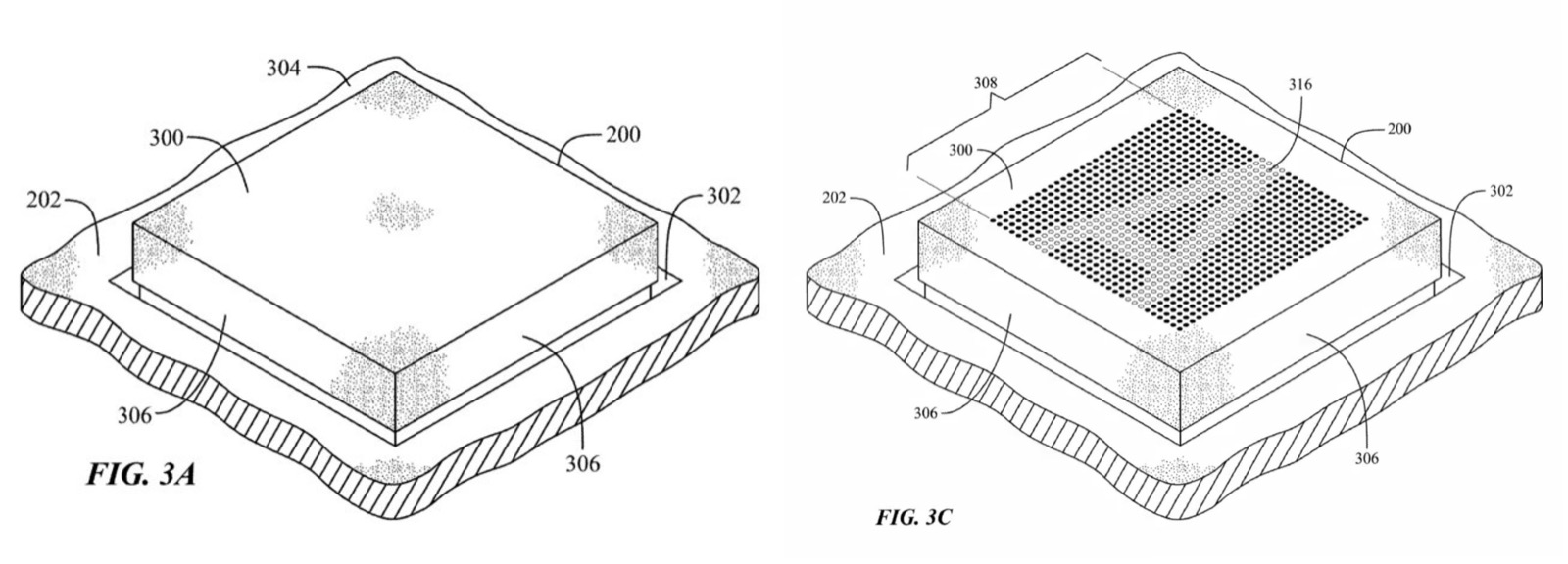
Il meccanismo poi è quello a forbice e non il fallimentare sistema a farfalla (che è costato ad Apple 50 milioni di dollari), ma soprattutto essendo realizzata con lo stesso materiale impiegato nel resto del computer consentirebbe un’uniformità nel design e nel colore mai raggiunta fino ad oggi da nessun MacBook. In un certo senso ricorda i cappucci dei tasti in alluminio usati sul PowerBook G4, ma in quel caso c’erano i simboli stampati sulla superficie, mentre qui il tasto rimane nudo e liscio.
Un altro miglioramento, seppur sottile, sarebbe inoltre dato dal fatto che la tastiera non avrebbe alcuna perdita di luce lungo i bordi dei pulsanti come invece avviene oggi, perché la retroilluminazione verrebbe data da questi LED posizionati soltanto al centro dei singoli tasti.
A che cosa può servire
Come funziona è facile da immaginare: normalmente viene mostrata la tastiera standard, ma nel momento in cui l’utente ad esempio deve digitare una emoji, con un click ogni pulsante potrebbe assumere la forma degli smile; lo stesso sistema potrebbe semplificare la digitazione dei simboli e della punteggiatura, oppure per chi deve scrivere in una lingua completamente diversa (passando ad esempio dall’italiano al giapponese), e nelle applicazioni professionali come Photoshop ogni tasto potrebbe mostrare il simbolo della funzione associata.
Tutto questo per ora rimane nei laboratori Apple ed è avvalorato da una serie di brevetti depositati nei giorni scorsi. Non sappiamo se la tecnologia è matura né ciò ci assicura che l’azienda è pronta per l’implementazione sui prossimi modelli: potrebbe cambiare idea in qualsiasi momento e tutto questo resterà – chissà per quanto – soltanto un sogno.


![iGuide per i regali di Natale - macitynet..ti CTA Natale iGuida [per Settimio] - macitynet.it](https://www.macitynet.it/wp-content/uploads/2025/12/regali-di-natale-consigli-di-macitynet.jpg)











