Apple ha completato i test di resistenza di due prototipi di iPhone pieghevoli effettuati nello stabilimento Foxconn di Shenzhen. Stando al report potrebbe trattarsi di unità non complete e con componenti interne limitate, questo perché lo scopo principale del test è quello di valutare durata e resistenza del sistema di cerniere progettato da Apple.
Uno dei prototipi di iPhone pieghevoli è un terminale dotato di due schermi che possono essere posizionati in modo da costituire un unico grande display una volta aperto, anche grazie a cornici molto sottile o assenti nel punto di contatto tra i due display. Invece il secondo prototipo di iPhone pieghevole è descritto come uno smartphone a conchiglia, quindi con una struttura simile a Motorola RAZR e Samsung Galaxy Z Flip. Questo modello impiegherebbe un solo schermo OLED pieghevole.
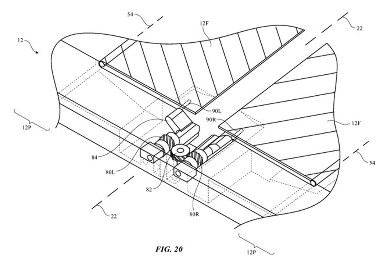
Non è la prima volta che emergono indiscrezioni sui lavori in corso di Apple su due prototipi di iPhone pieghevoli. Negli scorsi giorni il leaker Jon Prosser ha segnalato l’esistenza dei due prototipi indicando che erano in fase di test, offrendo descrizioni dei due terminali molto simili se non identiche a quanto indicato ora da Economic Daily News. Ricordiamo che da anni Apple deposita e registra brevetti con sistemi di cardini e cerniere per dispositivi pieghevoli.
A settembre è emerso che Apple avrebbe ordinato grandi quantità di campioni di schermi pieghevoli costruiti da Samsung. Una volta completato il test dei prototipi di iPhone pieghevoli, Apple ne sceglierà uno solo per continuare lo sviluppo. Per il momento, anche se le anticipazioni in merito stanno aumentando, sembra che Apple non lancerà un iPhone pieghevole almeno fino al 2022 o 2023.
Per tutte le notizie e gli articoli sull’universo iPhone è disponibile la sezione dedicata del nostro sito web, invece per il mondo Android si parte da questa pagina. Tutti gli articoli che parlano di iPhone, iPad e Mac sono disponibili ai rispettivi collegamenti, invece tutto quello che c’è da sapere sui nuovi iPhone 12 lo trovate in questo approfondimento di macitynet. Sulle pagine di macitynet trovate anche le recensioni di iPhone 12 Pro, iPhone 12, 12 mini e anche 12 Pro Max.


![iGuide per i regali di Natale - macitynet..ti CTA Natale iGuida [per Settimio] - macitynet.it](https://www.macitynet.it/wp-content/uploads/2025/12/regali-di-natale-consigli-di-macitynet.jpg)











